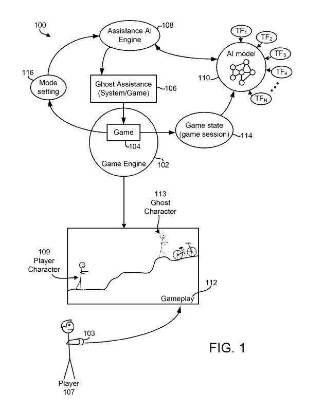
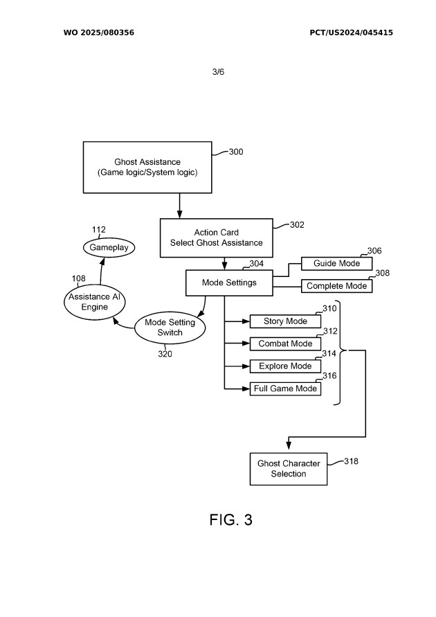
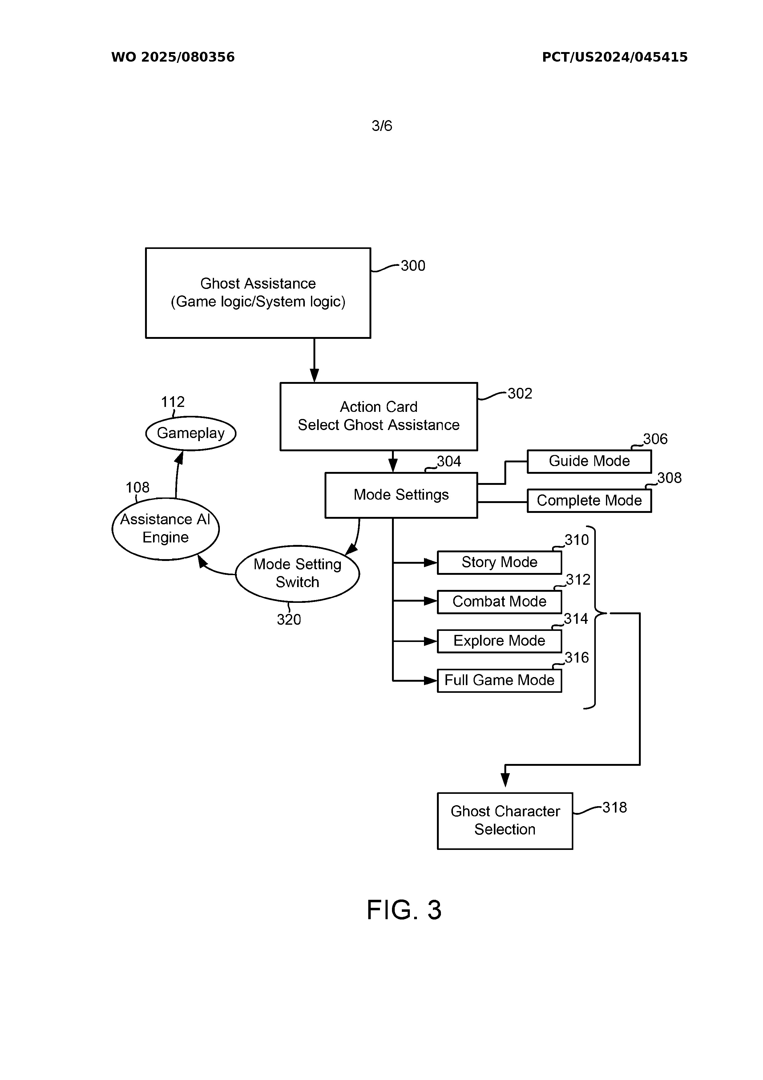
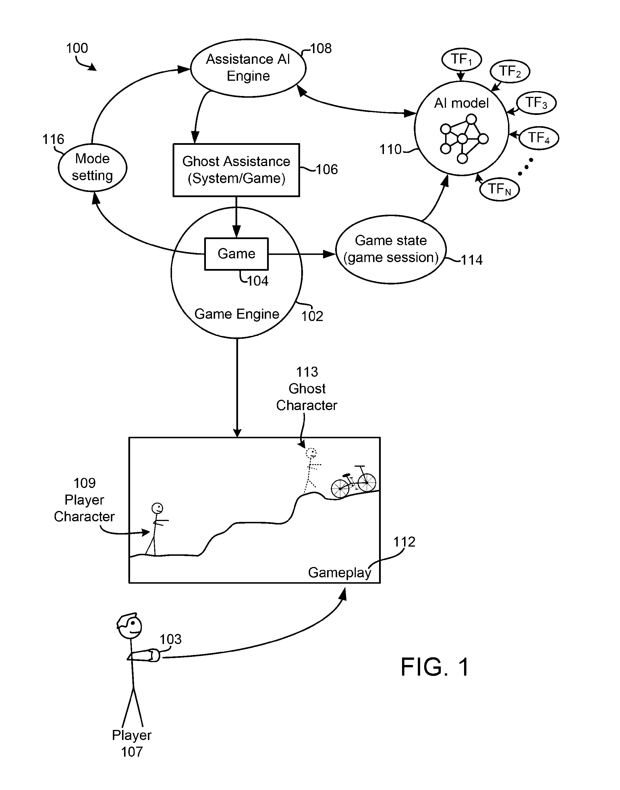
L’idée peut faire sourire, inquiéter ou intriguer selon le point de vue : Sony a déposé un brevet qui permettrait à des jeux de se jouer tout seuls quand le joueur est bloqué. Plus précisément, le système décrit introduit un “Ghost Player”, une sorte de version fantôme du personnage contrôlée par une IA, capable soit de montrer comment résoudre une situation, soit de la terminer entièrement à la place du joueur. C'est en effet ce qui apparaît sur des brevets qui ont été rendus public et sur le papier, le concept est simple. Dans un jeu comme Uncharted, si un joueur n’arrive pas à résoudre une énigme, il pourrait activer un mode “Guide” qui ferait apparaître un Nathan Drake piloté par l’IA, montrant visuellement la solution. Et s’il n’a vraiment plus envie d’insister, un mode “Complete” permettrait carrément à l’IA de passer la section pour lui.
Pris isolément, ce brevet n’a rien de totalement révolutionnaire, Donkey Kong Country Returns le proposait déjà en 2010. En faitn, les systèmes d’assistance existent depuis longtemps : baisse automatique de la difficulté, possibilité de passer un combat, indices pour les puzzles, voire tutoriels contextuels. Et d'ailleurs, dans certains jeux Nintendo, la technologie existe déjà. Chez Sony, on se souvient aussi de God of War Ragnarök, où les compagnons du joueur donnaient parfois la solution d’une énigme quelques secondes après son apparition, au point de frustrer certains joueurs. Ce brevet semble donc s’inscrire dans la continuité de cette philosophie : éviter au maximum que le joueur reste bloqué, quitte à réduire la part de réflexion ou de défi. Mais là où la proposition de Sony change d’échelle, c’est dans l’usage de l’IA. Le “Ghost Player” ne serait pas basé sur des scripts prédéfinis par les développeurs, mais sur un modèle entraîné à partir de séquences de gameplay existantes. En clair, l’IA apprendrait à jouer au jeu en observant comment il est joué, pour ensuite reproduire des actions crédibles et adaptées à la situation.
Ce système apparaît aussi comme une évolution directe du PS5 Game Help, lancé avec la PlayStation 5. À l’époque, Sony proposait déjà une aide intégrée via des cartes affichant images ou vidéos, sans avoir à sortir son téléphone ou ouvrir un guide externe. Une fonctionnalité pas forcément très utilisée, mais appréciée par certains profils de joueurs, notamment les chasseurs de trophées. Avec le Ghost Player, Sony passerait un cap supplémentaire qui risque d'ailleurs de créer du débat en ligne. Car si une IA peut résoudre une énigme à notre place, gérer un combat difficile ou traverser un passage compliqué, le rapport au jeu change profondément. Le défi, l’échec, l’apprentissage par l’erreur — autant d’éléments centraux du jeu vidéo — deviennent pour le coup optionnels. Pour certains joueurs, ce sera une bénédiction. Moins de frustration, plus de fluidité, un accès facilité à des expériences narratives parfois exigeantes. Pour d’autres, c’est une forme de trahison de l’esprit du jeu, voire une dilution de ce qui fait l’intérêt même de l’interactivité.
Une tendance plus large dans l’industrie
Sony n’est évidemment pas seul sur ce terrain. L’an dernier, Microsoft a présenté "Copilot for Gaming", un assistant IA pensé comme un “compagnon personnalisé”. Là aussi, l’objectif est de guider, conseiller, rappeler ce que le joueur a fait auparavant, voire gérer certaines actions annexes comme l’installation d’un jeu ou un résumé de progression. On sent bien que l’industrie se dirige vers un modèle où le jeu devient plus “accompagné”, plus accessible, parfois même proactif. Il est toutefois important de rappeler un point essentiel : un brevet n’est pas une annonce de fonctionnalité. Sony, comme beaucoup d’acteurs du secteur, dépose depuis des années des brevets sans forcément les concrétiser. Rien ne prouve que le Ghost Player verra le jour tel quel, ni même qu’il sera un jour intégré à un jeu PlayStation. Mais même sans application immédiate, ce brevet reste intéressant parce qu’il révèle une direction, une manière de penser le futur du jeu vidéo.
JeuxActu.com

